1
/
of
1
Toro Trencher Parts
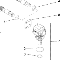
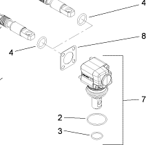
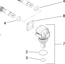
100-7229 - Reference Number 7 - Lever Kit
100-7229 - Reference Number 7 - Lever Kit
Regular price
$138.30 USD
Regular price
Sale price
$138.30 USD
Unit price
/
per
Shipping calculated at checkout.
Couldn't load pickup availability
Part Number 100-7229 - lever kit
Share
