1
/
of
1
Toro Trencher Parts
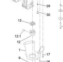
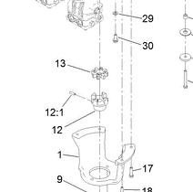
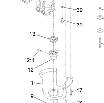
105-4068 - Reference Number 12:1 - Set Screw
105-4068 - Reference Number 12:1 - Set Screw
Regular price
$10.34 USD
Regular price
Sale price
$10.34 USD
Unit price
/
per
Shipping calculated at checkout.
Couldn't load pickup availability
Part Number 105-4068 - set screw
Share
