1
/
of
1
Toro Trencher Parts
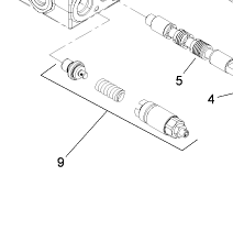
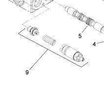
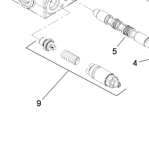
100-8805 - Reference Number 9 - Relief Valve
100-8805 - Reference Number 9 - Relief Valve
Regular price
$337.97 USD
Regular price
Sale price
$337.97 USD
Unit price
/
per
Shipping calculated at checkout.
Couldn't load pickup availability
Part Number 100-8805 - relief valve
Share
