1
/
of
1
Toro Trencher Parts
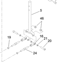
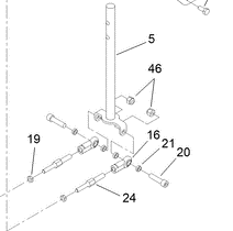
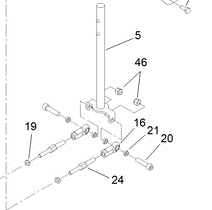
103-1167 - Reference Number 16 - Ball Joint End
103-1167 - Reference Number 16 - Ball Joint End
Regular price
$30.99 USD
Regular price
Sale price
$30.99 USD
Unit price
/
per
Shipping calculated at checkout.
Couldn't load pickup availability
Part Number 103-1167 - ball joint end
Share
