1
/
of
1
Toro Trencher Parts
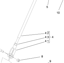
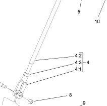
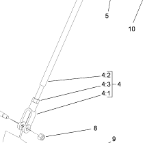
103-4335 - Reference Number 4 - Brake Rod Assembly
103-4335 - Reference Number 4 - Brake Rod Assembly
Regular price
$44.99 USD
Regular price
Sale price
$44.99 USD
Unit price
/
per
Shipping calculated at checkout.
Couldn't load pickup availability
Part Number 103-4335 - brake rod assembly, comes with reference numbers 4:1, 4:2 and 4:3
Share
