1
/
of
1
Toro Trencher Parts
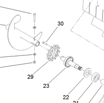
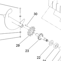
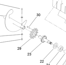
104-1964 - Reference Number 29 - Sprocket
104-1964 - Reference Number 29 - Sprocket
Regular price
$210.15 USD
Regular price
Sale price
$210.15 USD
Unit price
/
per
Shipping calculated at checkout.
Couldn't load pickup availability
Part Number 104-1964 - sprocket
Share
