1
/
of
1
Toro Trencher Parts
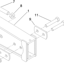
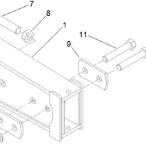
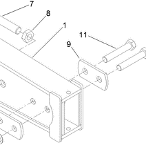
104-1983-03 - Reference Number 9 - Support Plate
104-1983-03 - Reference Number 9 - Support Plate
Regular price
$33.62 USD
Regular price
Sale price
$33.62 USD
Unit price
/
per
Shipping calculated at checkout.
Couldn't load pickup availability
Part Number 104-1983-03 - support plate
Share
