1
/
of
1
Toro Trencher Parts
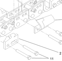
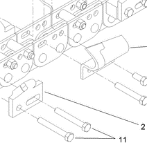
104-5937 - Reference Number 11 - Bolt
104-5937 - Reference Number 11 - Bolt
Regular price
$4.39 USD
Regular price
Sale price
$4.39 USD
Unit price
/
per
Shipping calculated at checkout.
Couldn't load pickup availability
Part Number 104-5937 - bolt
Share
