1
/
of
1
Toro Trencher Parts
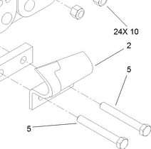
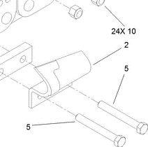
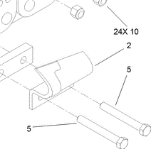
104-5938 - Reference Number 5 - Bolt
104-5938 - Reference Number 5 - Bolt
Regular price
$4.02 USD
Regular price
Sale price
$4.02 USD
Unit price
/
per
Shipping calculated at checkout.
Couldn't load pickup availability
Part Number 104-5938 - bolt
Share
