1
/
of
1
Toro Trencher Parts
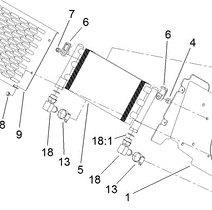
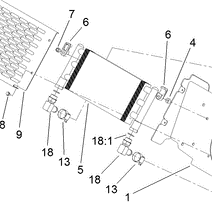
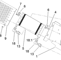
105-0352 - Reference Number 5 - Oil Cooler
105-0352 - Reference Number 5 - Oil Cooler
Regular price
$663.95 USD
Regular price
Sale price
$663.95 USD
Unit price
/
per
Shipping calculated at checkout.
Couldn't load pickup availability
Part Number 105-0352 - oil cooler
Share
