1
/
of
1
Toro Trencher Parts
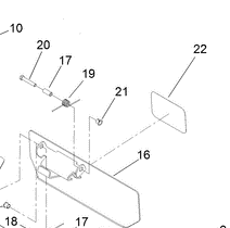
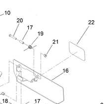
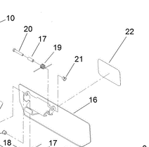
105-1217 - Reference Number 22 - Decal
105-1217 - Reference Number 22 - Decal
Regular price
$37.95 USD
Regular price
Sale price
$37.95 USD
Unit price
/
per
Shipping calculated at checkout.
Couldn't load pickup availability
Part Number 105-1217 - decal
Share
