1
/
of
1
Toro Trencher Parts
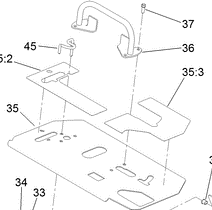
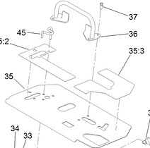
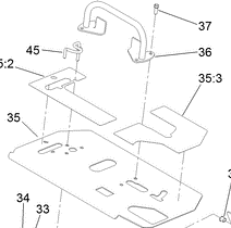
106-7715 - Reference Number 36 - Reference Bar
106-7715 - Reference Number 36 - Reference Bar
Regular price
$141.79 USD
Regular price
Sale price
$141.79 USD
Unit price
/
per
Shipping calculated at checkout.
Couldn't load pickup availability
Part Number 106-7715 - reference bar
Share
