1
/
of
1
Toro Trencher Parts
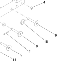
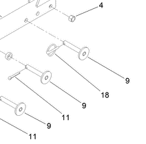
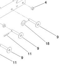
107-3039 - Reference Number 18 - Lynch Pin
107-3039 - Reference Number 18 - Lynch Pin
Regular price
$8.99 USD
Regular price
Sale price
$8.99 USD
Unit price
/
per
Shipping calculated at checkout.
Couldn't load pickup availability
Part Number 107-3039 - lynch pin
Share
