1
/
of
1
Toro Trencher Parts
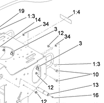
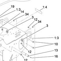
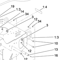
107-3154 - Reference Number 34 - Push Nut
107-3154 - Reference Number 34 - Push Nut
Regular price
$0.99 USD
Regular price
Sale price
$0.99 USD
Unit price
/
per
Shipping calculated at checkout.
Couldn't load pickup availability
Part Number 107-3154 - push nut
Share
