1
/
of
1
Toro Trencher Parts
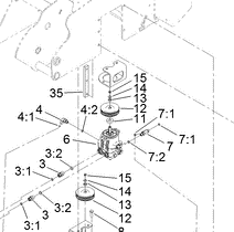
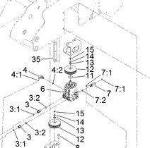
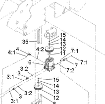
108-4211 - Reference Number 13 - Bushing
108-4211 - Reference Number 13 - Bushing
Regular price
$1.14 USD
Regular price
Sale price
$1.14 USD
Unit price
/
per
Shipping calculated at checkout.
Couldn't load pickup availability
Part Number 108-4211 - bushing
Share
