1
/
of
1
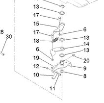
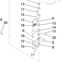
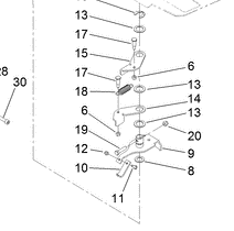
Toro Trencher Parts
108-4724 - Reference Number 18 - Spring
108-4724 - Reference Number 18 - Spring
Regular price
$9.30 USD
Regular price
Sale price
$9.30 USD
Unit price
/
per
Shipping calculated at checkout.
Couldn't load pickup availability
Part Number 108-4724 - spring
Share
