1
/
of
1
Toro Trencher Parts
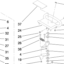
108-4724 - Reference Number 38 - Spring
108-4724 - Reference Number 38 - Spring
Regular price
$9.30 USD
Regular price
Sale price
$9.30 USD
Unit price
/
per
Shipping calculated at checkout.
Couldn't load pickup availability
Part Number 108-4724 - spring
Share
