1
/
of
1
Toro Trencher Parts
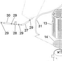
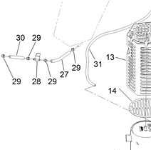
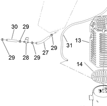
109-0295 - Reference Number 30 - Fuel Hose
109-0295 - Reference Number 30 - Fuel Hose
Regular price
$2.89 USD
Regular price
Sale price
$2.89 USD
Unit price
/
per
Shipping calculated at checkout.
Couldn't load pickup availability
Part Number 109-0295 - fuel hose
Share
