1
/
of
1
Toro Trencher Parts
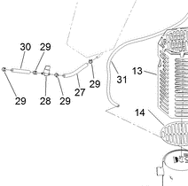
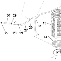
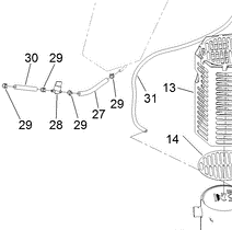
109-0306 - Reference Number 27 - Fuel Hose
109-0306 - Reference Number 27 - Fuel Hose
Regular price
$4.49 USD
Regular price
Sale price
$4.49 USD
Unit price
/
per
Shipping calculated at checkout.
Couldn't load pickup availability
Part Number 109-0306 - fuel hose
Share
