1
/
of
1
Toro Trencher Parts
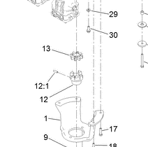
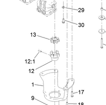
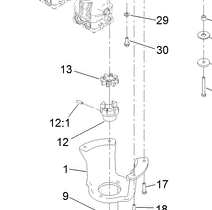
114-2933 - Reference Number 12 - Flex Coupler
114-2933 - Reference Number 12 - Flex Coupler
Regular price
$86.95 USD
Regular price
Sale price
$86.95 USD
Unit price
/
per
Shipping calculated at checkout.
Couldn't load pickup availability
Part Number 114-2933 - flex coupler, comes with set screw
Share
