1
/
of
1
Toro Trencher Parts
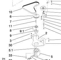
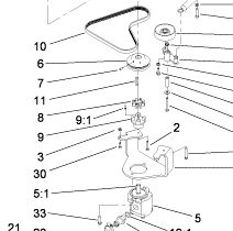
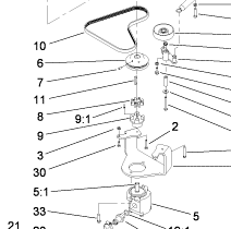
114-2933 - Reference Number 9 - Flex Coupler
114-2933 - Reference Number 9 - Flex Coupler
Regular price
$84.42 USD
Regular price
Sale price
$84.42 USD
Unit price
/
per
Shipping calculated at checkout.
Couldn't load pickup availability
Part Number 114-2933 - flex coupler, comes with reference number 9:1
Share
