1
/
of
1
Toro Trencher Parts
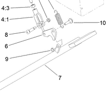
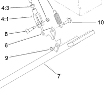
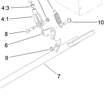
114-2972-03 - Reference Number 7 - Brake Bar
114-2972-03 - Reference Number 7 - Brake Bar
Regular price
$147.69 USD
Regular price
Sale price
$147.69 USD
Unit price
/
per
Shipping calculated at checkout.
Couldn't load pickup availability
Part Number 114-2972-03 - brake bar
Share
