1
/
of
1
Toro Trencher Parts
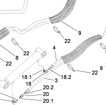
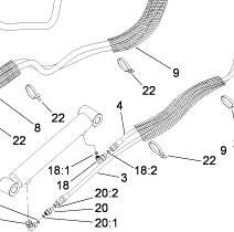
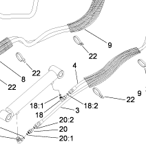
114-3045 - Reference Number 4 - Hydraulic Hose
114-3045 - Reference Number 4 - Hydraulic Hose
Regular price
$80.36 USD
Regular price
Sale price
$80.36 USD
Unit price
/
per
Shipping calculated at checkout.
Couldn't load pickup availability
Part Number 114-3045 - hydraulic hose
Share
