1
/
of
1
Toro Trencher Parts
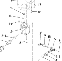
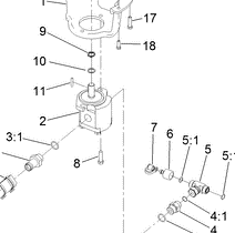
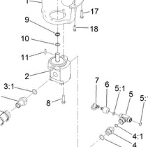
114-3072 - Reference Number 2 - Gear Pump
114-3072 - Reference Number 2 - Gear Pump
Regular price
$833.67 USD
Regular price
Sale price
$833.67 USD
Unit price
/
per
Shipping calculated at checkout.
Couldn't load pickup availability
Part Number 114-3072 - gear pump
Share
