1
/
of
1
Toro Trencher Parts
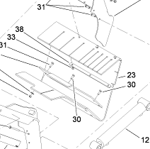
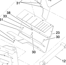
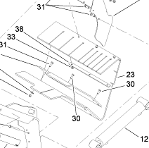
114-8569 - Reference Number 23 - Dirt Shield
114-8569 - Reference Number 23 - Dirt Shield
Regular price
$291.12 USD
Regular price
Sale price
$291.12 USD
Unit price
/
per
Shipping calculated at checkout.
Couldn't load pickup availability
Part Number 114-8569 - dirt shield
Share
