1
/
of
1
Toro Trencher Parts
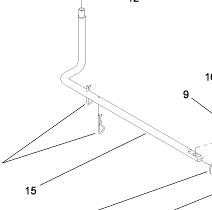
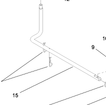
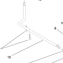
114-8598 - Reference Number 15 - Rod Lever
114-8598 - Reference Number 15 - Rod Lever
Regular price
$70.69 USD
Regular price
Sale price
$70.69 USD
Unit price
/
per
Shipping calculated at checkout.
Couldn't load pickup availability
Part Number 114-8598 - rod lever
Share
