1
/
of
1
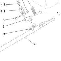
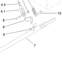
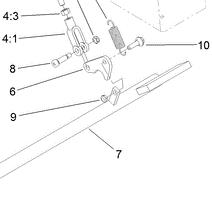
Toro Trencher Parts
114-8629 - Reference Number 8 - Shoulder Bolt
114-8629 - Reference Number 8 - Shoulder Bolt
Regular price
$17.96 USD
Regular price
Sale price
$17.96 USD
Unit price
/
per
Shipping calculated at checkout.
Couldn't load pickup availability
Part Number 114-8629 - shoulder bolt
Share
