1
/
of
1
Toro Trencher Parts
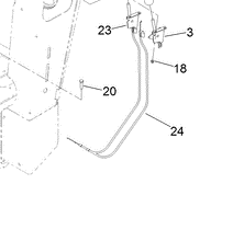
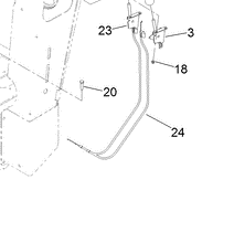
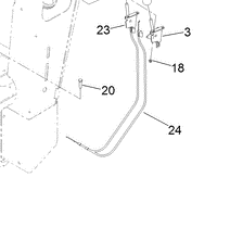
115-1211 - Reference Number 24 - Control Cable
115-1211 - Reference Number 24 - Control Cable
Regular price
$18.72 USD
Regular price
Sale price
$18.72 USD
Unit price
/
per
Shipping calculated at checkout.
Couldn't load pickup availability
Part Number 115-1211 - control cable, can be used for choke or throttle cable
Share
