1
/
of
1
Toro Trencher Parts
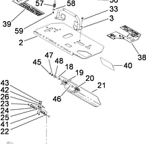
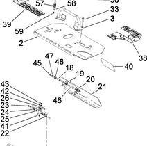
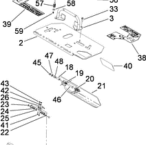
115-1230 - Reference Number 38 - Console Decal
115-1230 - Reference Number 38 - Console Decal
Regular price
$57.84 USD
Regular price
Sale price
$57.84 USD
Unit price
/
per
Shipping calculated at checkout.
Couldn't load pickup availability
Part Number 115-1230 - console decal
Share
