1
/
of
1
Toro Trencher Parts
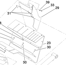
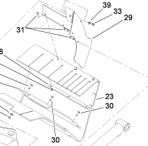
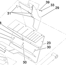
115-1279-03 - Reference Number 29 - Bracket Shield
115-1279-03 - Reference Number 29 - Bracket Shield
Regular price
$151.99 USD
Regular price
Sale price
$151.99 USD
Unit price
/
per
Shipping calculated at checkout.
Couldn't load pickup availability
Part Number 115-1279-03 - bracket shield
Share
