1
/
of
1
Toro Trencher Parts
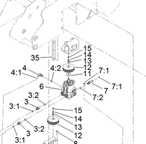
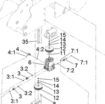
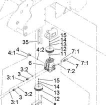
115-1298 - Reference Number 12 - Sheave
115-1298 - Reference Number 12 - Sheave
Regular price
$199.99 USD
Regular price
Sale price
$199.99 USD
Unit price
/
per
Shipping calculated at checkout.
Couldn't load pickup availability
Part Number 115-1298 - sheave
Share
