1
/
of
1
Toro Trencher Parts
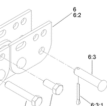
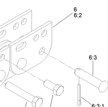
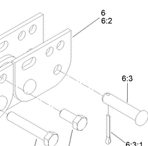
115-4039 - Reference Number 6:2 - Repair Link Kit
115-4039 - Reference Number 6:2 - Repair Link Kit
Regular price
$85.67 USD
Regular price
Sale price
$85.67 USD
Unit price
/
per
Shipping calculated at checkout.
Couldn't load pickup availability
Part Number 115-4039 - repair link kit, comes with 1 link, 2 connecting pins and 2 cotter pins
Share
