1
/
of
1
Toro Trencher Parts
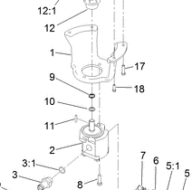
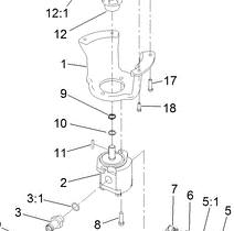
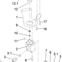
115-7210 - Reference Number 10 - Thrust Washer
115-7210 - Reference Number 10 - Thrust Washer
Regular price
$4.07 USD
Regular price
Sale price
$4.07 USD
Unit price
/
per
Shipping calculated at checkout.
Couldn't load pickup availability
Part Number 115-7210 - thrust washer
Share
