1
/
of
1
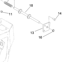
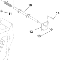
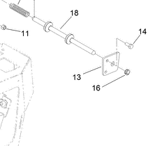
Toro Trencher Parts
116-1393 - Reference Number 16 - Bushing
116-1393 - Reference Number 16 - Bushing
Regular price
$3.89 USD
Regular price
Sale price
$3.89 USD
Unit price
/
per
Shipping calculated at checkout.
Couldn't load pickup availability
Part Number 116-1393 - bushing
Share
