1
/
of
1
Toro Trencher Parts
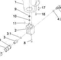
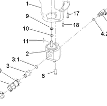
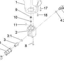
117-6307 - Reference Number 2 - Gear Pump
117-6307 - Reference Number 2 - Gear Pump
Regular price
$830.90 USD
Regular price
Sale price
$830.90 USD
Unit price
/
per
Shipping calculated at checkout.
Couldn't load pickup availability
Part Number 117-6307 - gear pump
Share
