1
/
of
1
Toro Trencher Parts
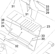
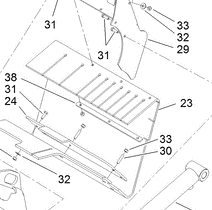
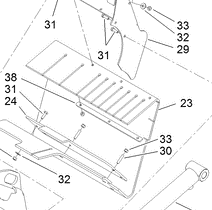
117-6317 - Reference Number 23 - Dirt Shield
117-6317 - Reference Number 23 - Dirt Shield
Regular price
$308.38 USD
Regular price
Sale price
$308.38 USD
Unit price
/
per
Shipping calculated at checkout.
Couldn't load pickup availability
Part Number 117-6317 - dirt shield
Share
