1
/
of
1
Toro Trencher Parts
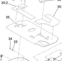
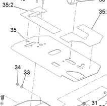
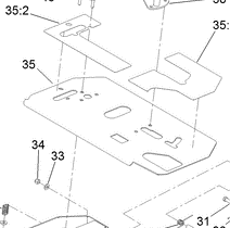
117-6389 - Reference Number 35 - Control Panel
117-6389 - Reference Number 35 - Control Panel
Regular price
$238.75 USD
Regular price
Sale price
$238.75 USD
Unit price
/
per
Shipping calculated at checkout.
Couldn't load pickup availability
Part Number 117-6389 - control panel, comes with 35:2 and 35:3
Share
