1
/
of
1
Toro Trencher Parts
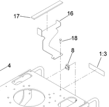
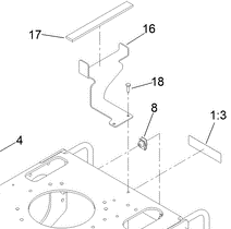
117-6417 - Reference Number 17 - Pad
117-6417 - Reference Number 17 - Pad
Regular price
$6.48 USD
Regular price
Sale price
$6.48 USD
Unit price
/
per
Shipping calculated at checkout.
Couldn't load pickup availability
Part Number 117-6417 - pad
Share
