1
/
of
1
Toro Trencher Parts
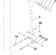
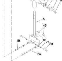
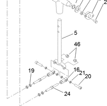
121-4506 - Reference Number 24 - Control Link Adjustment
121-4506 - Reference Number 24 - Control Link Adjustment
Regular price
$22.07 USD
Regular price
Sale price
$22.07 USD
Unit price
/
per
Shipping calculated at checkout.
Couldn't load pickup availability
Part Number 121-4506 - control link adjustment
Share
