1
/
of
1
Toro Trencher Parts
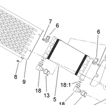
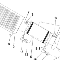
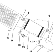
131-0733 - Reference Number 6 - Clamp
131-0733 - Reference Number 6 - Clamp
Regular price
$3.77 USD
Regular price
Sale price
$3.77 USD
Unit price
/
per
Shipping calculated at checkout.
Couldn't load pickup availability
Part Number 131-0733 - clamp
Share
