1
/
of
1
Toro Trencher Parts
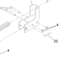
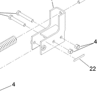
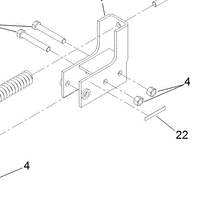
133-8061 - Reference Number 22 - Warning Decal
133-8061 - Reference Number 22 - Warning Decal
Regular price
$2.41 USD
Regular price
Sale price
$2.41 USD
Unit price
/
per
Shipping calculated at checkout.
Couldn't load pickup availability
Part Number 133-8061 - warning decal
Share
