1
/
of
1
Toro Trencher Parts
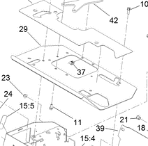
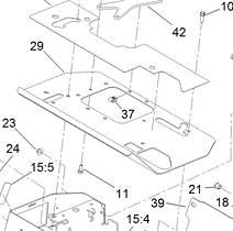
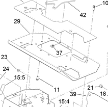
137-3799 - Reference Number 29 - Control Panel
137-3799 - Reference Number 29 - Control Panel
Regular price
$195.23 USD
Regular price
Sale price
$195.23 USD
Unit price
/
per
Shipping calculated at checkout.
Couldn't load pickup availability
Part Number 137-3799 - control panel, comes with 29:2 decal
Share
