1
/
of
1
Toro Trencher Parts
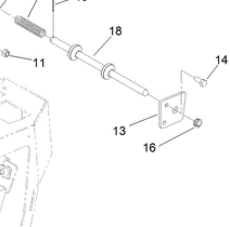
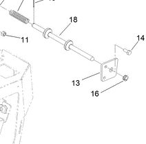
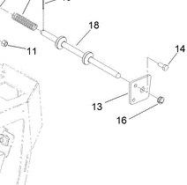
138-3123-03 - Reference Number 13 - Plate
138-3123-03 - Reference Number 13 - Plate
Regular price
$22.94 USD
Regular price
Sale price
$22.94 USD
Unit price
/
per
Shipping calculated at checkout.
Couldn't load pickup availability
Part Number 138-3123-03 - plate
Share
