1
/
of
1
Toro Trencher Parts
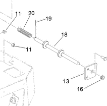
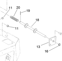
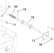
138-7163 - Reference Number 18 - Lockout Rod
138-7163 - Reference Number 18 - Lockout Rod
Regular price
$13.35 USD
Regular price
Sale price
$13.35 USD
Unit price
/
per
Shipping calculated at checkout.
Couldn't load pickup availability
Part Number 138-7163 - lockout rod
Share
