1
/
of
1
Toro Trencher Parts
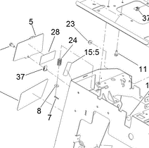
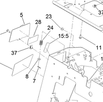
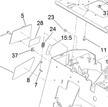
139-1271 - Reference Number 15:5 - Parking Brake Decal
139-1271 - Reference Number 15:5 - Parking Brake Decal
Regular price
$11.09 USD
Regular price
Sale price
$11.09 USD
Unit price
/
per
Shipping calculated at checkout.
Couldn't load pickup availability
Part Number 139-1271 - parking brake decal
Share
