1
/
of
1
Toro Trencher Parts
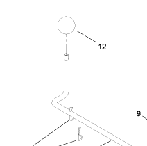
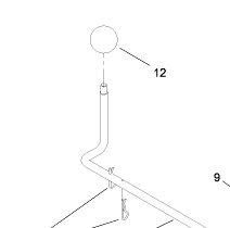
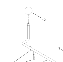
233-21 - Reference Number 12 - Knob
233-21 - Reference Number 12 - Knob
Regular price
$12.99 USD
Regular price
Sale price
$12.99 USD
Unit price
/
per
Shipping calculated at checkout.
Couldn't load pickup availability
Part Number 233-21 - knob
Share
