1
/
of
1
Toro Trencher Parts
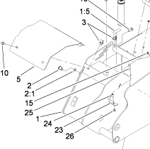
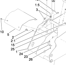
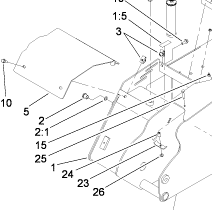
237-79 - Reference Number 2:1 - O Ring
237-79 - Reference Number 2:1 - O Ring
Regular price
$5.41 USD
Regular price
Sale price
$5.41 USD
Unit price
/
per
Shipping calculated at checkout.
Couldn't load pickup availability
Part Number 237-79 - o ring
Share
