1
/
of
1
Toro Trencher Parts
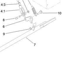
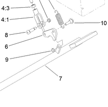
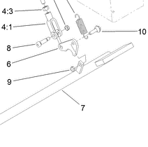
27-7211 - Reference Number 10 - Bolt
27-7211 - Reference Number 10 - Bolt
Regular price
$3.49 USD
Regular price
Sale price
$3.49 USD
Unit price
/
per
Shipping calculated at checkout.
Couldn't load pickup availability
Part Number 27-7211 - bolt
Share
