1
/
of
1
Toro Trencher Parts
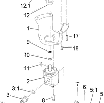
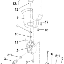
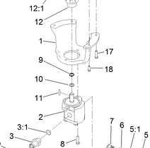
27-8590 - Reference Number 11 - Key Square
27-8590 - Reference Number 11 - Key Square
Regular price
$5.59 USD
Regular price
Sale price
$5.59 USD
Unit price
/
per
Shipping calculated at checkout.
Couldn't load pickup availability
Part Number 27-8590 - key square
Share
