1
/
of
1
Toro Trencher Parts
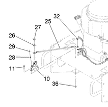
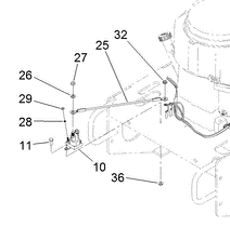
28-3891 - Reference Number 25 - Starter Wire
28-3891 - Reference Number 25 - Starter Wire
Regular price
$25.99 USD
Regular price
Sale price
$25.99 USD
Unit price
/
per
Shipping calculated at checkout.
Couldn't load pickup availability
Part Number 28-3891 - starter wire
Share
